INSPECTION D'ELECTROVANNE D'ADMISSION D'AIR A EFFET DYNAMIQUE VARIABLE (VDI)
BHE011301005W14
1. Débrancher le cable négatif de la batterie.
2. Déposer l'électrovanne VDI. (voir la section DEPOSE/REPOSE DU SYSTEME D'AIR D'ADMISSION.)
3. Contrôler le débit d'air en suivant les étapes ci-après.
-
• S'il est normal, inspecter les faisceaux de câblage concernés.
-
• En cas de dysfonctionnement, remplacer l'électrovanne VDI. (voir la section DEPOSE/REPOSE DU SYSTEME D'AIR D'ADMISSION.)

Inspection de Circuit Ouvert/Court-Circuit
1. Débrancher le connecteur du PCM. (voir la section DEPOSE/REPOSE DE PCM.)
2. Inspecter s'il y a un circuit ouvert ou un court-circuit (test de continuité) dans le faisceau de câbles suivant.
Circuit ouvert
-
• En cas d'absence de continuité, le circuit est ouvert. Réparer ou remplacer le faisceau.
-
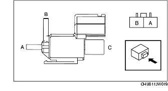
- Borne B de l'électrovalve VDI (côté faisceau) et borne 1W du PCM
-
- Borne A de l'électrovanne VDI (côté faisceau) et borne C du relais principal (côté faisceau)
Court-circuit
-
• En cas de continuité, le circuit est en court-circuit. Réparer ou remplacer le faisceau.
-
- Borne B de l'électrovanne VDI (côté faisceau) et masse de carrosserie
-
- Borne A de l'électrovanne VDI (côté faisceau) et alimentation